사용자가 조작한 링크의 기록을 확인하는 방법
개요
이 매뉴얼에서는 '로그 현황' > '링크 이력' 메뉴에서 사용자가 조작한 링크 기록을 확인하는 방법을 설명합니다.
제한·보충사항
관리자 권한이 부여된 사용자는 관리자 페이지에서 '로그 현황' 항목에 접근 가능합니다.
'로그 현황' > '링크 현황' 메뉴에는 Guest, LDAP 연동 및 SAML 연동으로 등록된 사용자의 설정 이력도 기록됩니다.
DirectCloud의 옵션인 'DirectCloud-CONNECT'를 이용할 수 있는 경우라도, Connect 폴더에서는 공유 링크를 생성할 수 없기 때문에 Connect 폴더의 링크 설정 정보는 확인할 수 없습니다.
링크를 생성한 이력은 '파일의 조작' 로그에 기록됩니다. 자세한 내용은 사용자의 파일 이용 내역을 확인하는 방법을 참조해 주십시오.
사용자 본인이 생성한 링크의 이력은 사용자 페이지에서 Link History를 확인하는 방법에서 확인할 수 있습니다.
링크의 설정 정보는 '로그 현황' > '링크 현황'에서 확인 및 삭제할 수 있습니다. 자세한 내용은 사용자가 생성한 링크의 설정 정보를 확인하는 방법을 참조해 주십시오.
계약 담당 관리자 또는 일반 관리자에 의해 삭제된 사용자는 '삭제된 사용자'로 표시됩니다.
'링크 이력' 메뉴에서는 링크를 삭제할 수 없습니다.
다운로드되는 CSV 파일의 문자 코드는, '공유 설정' > '세부 기능 설정' 메뉴의 '문자 인코딩'에서 설정되어 있습니다. 자세한 내용은, 다운로드하는 CSV 파일의 문자 코드를 설정하는 방법을 참조해 주시기 바랍니다.
절차
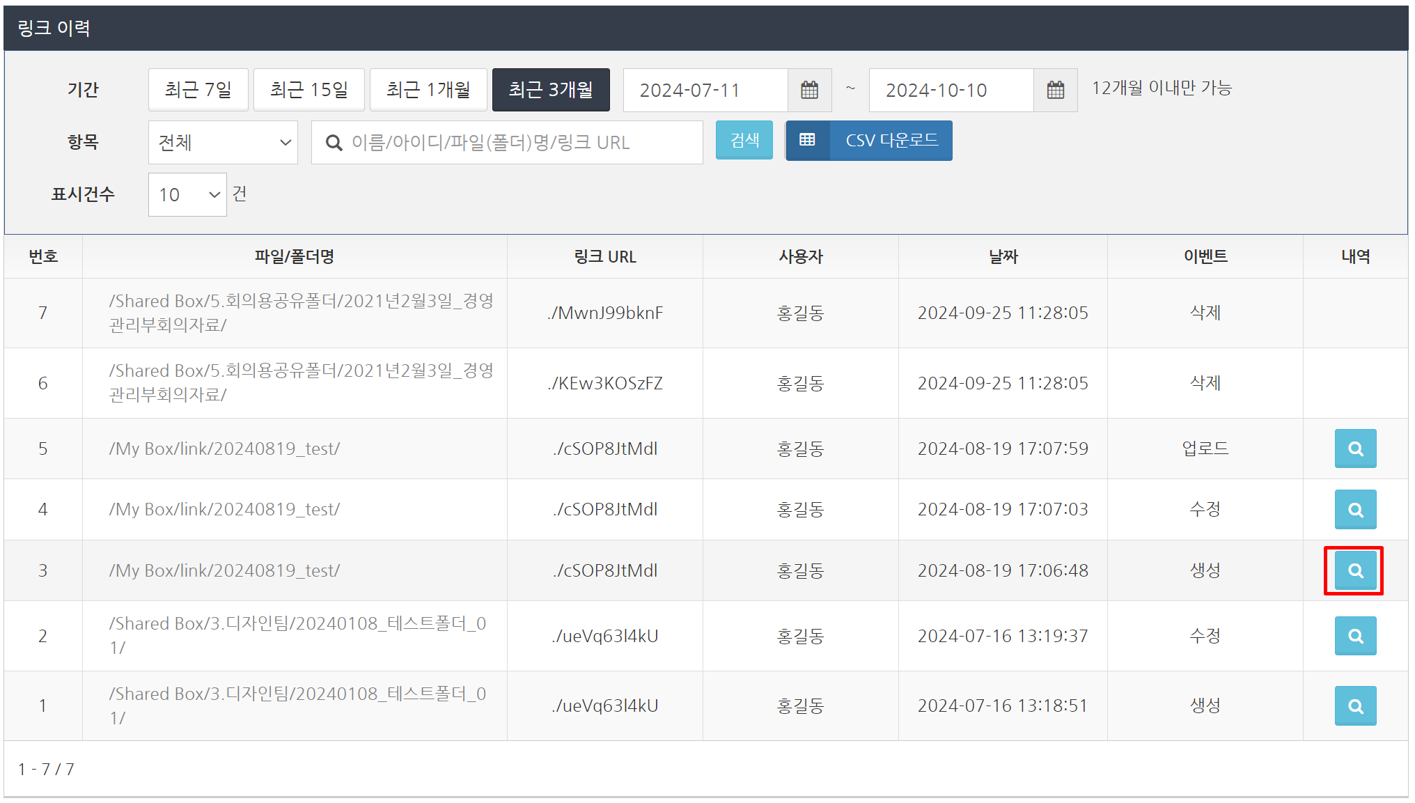
링크 이력 확인
'로그 현황' > '링크 이력' 메뉴를 클릭합니다.

'링크 이력'에서 링크 기록을 확인합니다.

파일/폴더명
링크가 생성된 파일 이름 또는 폴더 이름이 표시됩니다.
링크 URL
링크 URL이 표시됩니다. "."는 "https://link.directcloud.net" 로 대체됩니다.
사용자
링크를 조작한 사용자의 이름이 표시됩니다.
날짜
링크가 조작된 날짜와 시간이 표시됩니다.
이벤트
링크에 관한 조작 내용이 표시됩니다. 조작의 종류는 다음과 같습니다.
생성: 링크 생성
수정: 링크 수
알림메일 발송: 링크 이메일 보내기
업로드: 발신자가 링크 수신 화면에 파일 업로드
URL 변경: 링크 URL 변경
삭제: 링크 삭제
내역
버튼을 클릭하면, 링크의 설정 정보 및 링크에 대한 접근 로그를 확인할 수 있는 '링크 이력 상세' 화면이 표시됩니다.
링크 설정 정보 및 접근 내역 확인
링크의 설정 방법 및 접근 이력을 확인하려는 링크 이력의 '내역' 열에 있는 버튼을 클릭합니다. 링크 이력 세부사항 화면이 표시됩니다.

링크 정보를 확인합니다.

링크 URL
링크 URL, 폴더 이름, 파일 이름이 표시됩니다.
이벤트(일시)
링크와 관련된 조작 내용과 조작된 날짜와 시간이 표시됩니다.
링크옵션
링크의 옵션 설정이 표시됩니다. 자세한 내용은 링크 생성 화면을 표시하여 기본 기능을 확인하는 방법을 참조하십시오.
메일 내용
링크로 메일을 발송한 경우에는, 수신자 및 본문 등의 설정 내용이 표시됩니다.
읽기 내역
파일에 접근한 일시, IP 주소, 조작 내역이 표시됩니다. 자세한 내용은 아래와 같습니다.
이메일 주소: 링크를 생성해 공유하는 방법에서 '수신자 확인'에 체크한 경우에는 메일 주소가 표시됩니다.
날짜: 링크에 대한 접근 날짜 및 시간을 표시합니다.
IP 주소: 접속 원본의 IP 주소가 표시됩니다.
조작 내역: 링크 수신 화면에서 조작을 했을 경우 '미리 보기', '다운로드', '업로드'중 하나가 표시됩니다.
링크 이력을 필터링하여 표시
링크 이력 화면에서 링크 기록을 기간, 조작, 사용자, 파일 이름, 링크 URL, 표시건수로 필터링할 수 있습니다.

❶
링크 이력을 표시할 기간을 '최근 7일', '최근 15일', '최근 1개월', '최근 3개월' 중에서 선택합니다.
❷
계약 시작부터 현재까지 링크 이력을 표시할 기간을 지정합니다. 지정할 수 있는 기간은 12개월입니다.
❸
클릭하여 드롭다운 목록을 보고 링크 이력을 필터링하여 보려는 작업을 선택합니다.
❹
클릭하여 드롭다운 리스트를 표시하고, 아래 중 하나의 검색 대상을 선택합니다. 기본값으로는 '전체'가 선택되어 있어, 모든 항목이 검색 대상이 됩니다.
사용자명
사용자 ID
파일·폴더명
링크 URL
NOTE: 검색 대상을 선택하더라도 ❺의 키워드를 입력하지 않은 경우에는, 모든 항목이 검색 대상이 됩니다. 폴더명 검색은 링크가 생성된 파일이 저장되어 있는 폴더가 대상이 됩니다. 폴더 경로에 포함된 상위 폴더를 대상으로 검색할 수는 없습니다.
❺
❹에서 선택한 검색 대상의 키워드를 입력합니다. 링크 이력을 조작한 사용자, 파일·폴더명, 링크 URL로 필터링하려면, '사용자명' 또는 '사용자 ID', '파일·폴더명', '링크 URL'을 입력합니다. 링크 URL을 제외한 항목은 부분 일치로 검색되므로, 입력한 키워드가 포함된 검색 대상이 검색 결과에 표시됩니다.
NOTE: 링크 URL은 완전 일치로 검색됩니다. 앞부분의 './'를 포함하지 않고 검색해 주십시오.
❻
링크 이력을 표시할 건수를, '10' '25' '50' '100' 중에서 선택합니다.
링크 이력을 CSV 파일로 다운로드
링크 이력에서 'CSV 다운로드' 버튼을 클릭합니다. 링크 이력은 대량의 데이터가 될 수 있으므로 미리 필터링하여 표시한 후 내보내는 것이 좋습니다. CSV 파일이 다운로드됩니다.

CSV 파일을 열고 문제없이 표시되는지 확인합니다.


